🪛 INSTALLATIONSANLEITUNG

Einfach zum perfekten Ergebnis

Befolgen Sie diese einfachen Schritte für eine schnelle und saubere Montage an einer Fassade, einem Zaun oder einer Mauer.

  • Schritt 1

    Markieren Sie die Bohrstellen

    Legen Sie die beiliegende Schablone an die gewünschte Stelle und markieren Sie die Löcher mit einem Bleistift.

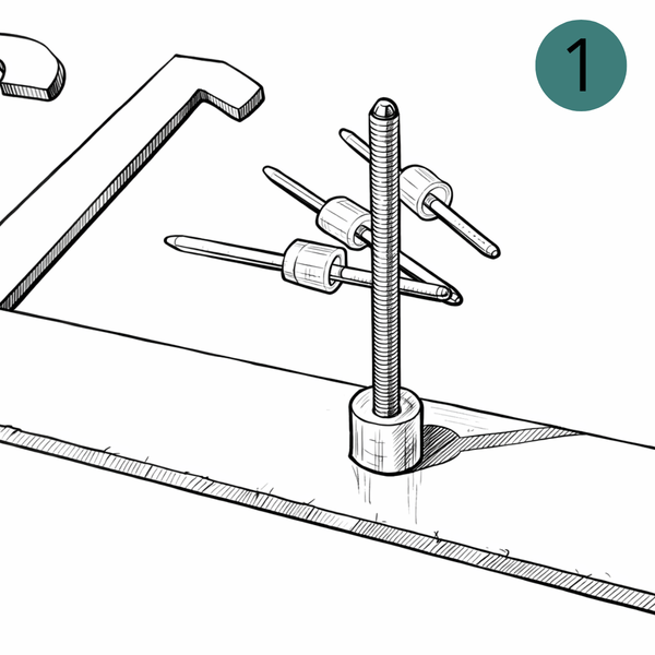
  • Schritt 2

    Bohren Sie Löcher und tragen Sie Silikon auf.

    Bohren Sie mit einem geeigneten Bohrer Löcher an den markierten Stellen und tragen Sie anschließend Silikon für den Außenbereich auf.

  • Schritt 3

    Befestigen Sie die Platte

    Richte die Platte an den Löchern aus und drücke sie fest an die Wand. Warte, bis das Silikon getrocknet ist.

Über 10.000 Hausnummern installiert

Maximal 5 Minuten
Zum Shop

Schritt für Schritt zur perfekten Installation

Poglej, kako preprosto je – naši kupci pokažejo celoten postopek.

5.0
"Der gesamte Montagevorgang dauert weniger als eine Minute.⏰"

Jože

5.0
"Ich packe es aus, markiere es, schraube es fest – und schon hängt es!"

Petra

4.9
"Ich bin kein Meister, aber es ist mir beim ersten Versuch gelungen."

Marko

WIE WIR IHNEN DIE INSTALLATION ERLEICHTERN

Alles, was Sie brauchen, an einem Ort.

Einfache Montage

Die beiliegende Schablone, Schrauben und Anleitung sorgen dafür, dass Sie das Produkt in wenigen Minuten ganz einfach montieren können.

Hochwertige Materialien

Wir verwenden langlebige, witterungsbeständige Materialien – für eine lange Lebensdauer des Produkts.

Keine versteckten Kosten

Alles, was Sie für die Montage benötigen (außer Silikon), ist bereits im Lieferumfang enthalten.

Pogosta vprašanja (FAQ)

Anbringung von Hausnummern

Hier finden Sie Antworten auf die häufigsten Fragen zu unseren Produkten und Dienstleistungen.

  • Wie läuft die Installation einer Hausnummer ab?

    Markieren Sie die Stellen für die Löcher auf der Oberfläche

    2.
    Bohren Sie
    die richtigen Löcher mit dem entsprechenden Durchmesser

    3.
    Füllen Sie die Löcher mit
    Silikon

    4.
    Schrauben Sie die mitgelieferten Schrauben auf die Rückseite der Hausnummer

    5.
    Drücken Sie die Hausnummer vorsichtig in die Löcher und richten Sie sie aus

    6.
    Lassen Sie das Silikon aushärten

    ⚠️ Die Hausnummern werden ohne Kraftaufwand angebracht – richtig gebohrte Löcher sind dabei entscheidend.

  • Sind Einlagen erforderlich?

    Nein.

    Bei der Montage werden
    keine Unterlegscheiben verwendet.


    Zur Verankerung der Hausnummer wird
    Silikon verwendet, das eine feste und dauerhafte Befestigung gewährleistet.

  • Sind die Schrauben im Lieferumfang enthalten?

    Ja.

    Im Lieferumfang sind
    Schrauben enthalten, die an der Rückseite der Hausnummer angebracht werden, sodass sie von vorne nicht sichtbar sind.


    Dadurch wird ein klares und modernes Erscheinungsbild gewährleistet.

  • Ist Bohren obligatorisch?

    Ja.

    Für eine korrekte Montage ist
    es immer erforderlich, Löcher zu bohren, unabhängig vom Untergrund.

  • Ist es möglich, eine Bestellung ohne Schrauben aufzugeben?

    Ja.

    Bei der Bestellung können Sie die Option
    ohne Schrauben
    ➡️ wählen. In diesem Fall bringen Sie die Hausnummer selbst an mit:

    Kleber


    Silikon


    oder einer anderen geeigneten Methode Ihrer Wahl

    ⚠️ Bei dieser Option ist der Käufer selbst für die korrekte und sichere Montage verantwortlich.

  • Auf welchen Flächen kann ich meine Hausnummer anbringen?

    Hausnummern eignen sich für die Montage auf:

    Fassaden


    Beton


    Ziegel


    Holz


    anderen festen Oberflächen

    Die Oberfläche muss sauber, trocken und stabil sein.

  • Sind Hausnummern für den Außenbereich geeignet?

    Ja.

    Alle Hausnummern sind aus hochwertigen Materialien gefertigt, die beständig sind gegen:

    Witterungseinflüsse


    UV-Strahlen


    Temperaturschwankungen

    Sie sind für den ganzjährigen Außenbereich geeignet.